Network Slice Experience Index for evaluating a network slice

A Q&A with one of Amdocs’ Principal Technical Architects on the recently patented Network Slice Experience Index. Discussing key benefits and features, and the resonating impact it will have on network services to come.

Author Image

Gabi Podolsky, Principal Technical Architect at Amdocs

Amdocs Networks


24 Jul 2023

Network Slice Experience Index for evaluating a network slice

Layout canvas

Evaluating a network slice to maximize new services is key for CSPs aiming to future-proof their agility, security, and innovative strategies. The Network Slice Experience Index is a marketing-leading slicing tool aimed at enabling innovative services for CSPs.

A product that allows CSPs to sell QoE differentiated services in 5G networks using Slices when subscribers pay a premium fee for QoE above the guaranteed slice QoE. It is a similar concept to the “Fast Lane” is busy city access highways. The product calculates the actual QoE for each network slice.

What is the product being patented? And what does it do?

A product that allows CSPs to sell QoE differentiated services in 5G networks using slices when subscribers pay a premium fee for QoE above the guaranteed slice QoE. It is a similar concept to the “Fast Lane” is busy city access highways.

How does this "Fast Lane" approach do for services, networks, and users that aren't already available?

These days, while 5G (and 5G slicing) is at a starting point of network deployment, there’s no concept of offering premium services beyond the guaranteed QoS. i.e., if the slice can guarantee the SLA for most subscribers, the CSP is not aware of the potential of that 5G network slice to offer better services.

Is there a particular industry vertical that stands to benefit the most from the Quality Indicator?

Within the verticals that 5G slicing is targeting we can look at AR/VR Gaming, drone-based applications (e.g., surveillance), Autonomous cars, etc.

Does this enhance services or create entirely new ones?

This patent suggests that the CSP can create new premium offerings using the same 5g slices.

How does this change 4G, 5G & LTE?

It does not change the 5G network technology. It does change the charging aspects of the 5G core because requires the introduction of a new system to measure and compare slice QoS and interfaces between the system and 5G core NFs, e.g. CHF, PCF, AMF, SMF.

In terms of application and unlocking new potential, what is the greatest benefit or advantage of this patent?

This patent allows service providers to exploit 5G slices and offer premium services beyond the guaranteed SLA. CSPs can profit from premium services and subscribers can use services with elevated QoE.

In your opinion, what are the standout key features/advantages to patenting this product?

  1. Calculation of a Slice Experience Index
  2. Creation of a premium service model for 5G slices

Product Description

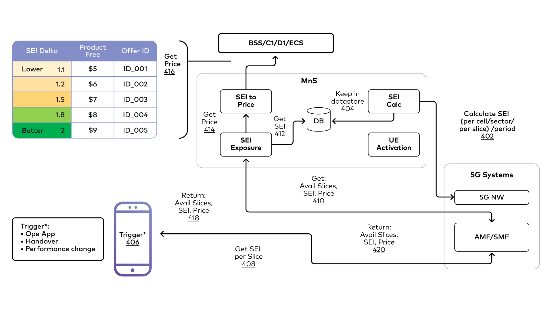
A SEI (Slice Experience Index) is calculated as the difference between the guaranteed QoE and the actual calculated QoE for the network slice, at a given point in time.

Using this SEI the system can calculate dynamic pricing for the slice, creating a set of prices for premium user experience. Increasing deltas between calculated and guaranteed QoE and are priced higher, giving the subscriber an opportunity to purchase these premium services, when these are available on the network.

At design time, a user at a CSP can define a slice charging model using the SEI. Thus, the SEI is created using different KPIs and weights. KPIs such as Performance (Throughput, Delay), Voice Experience, Video Experience, etc.

Slice Experience Index

Fig. 1: Slice Experience Index

At runtime, the systems receive network measurements and calculate the SEI for each slice.

In a 5G network context, the AMF/SMF core function may retrieve the SEI and calculated prices per slice and then send this tuple (Slice ID, SEI, Price) to the UE (user equipment).

BSS Flowchart

Fig. 2: BSS Flowchart

If the subscriber is interested in an improved customer experience, the subscriber can select a slice and price and indicate this requirement to the 5G core function AMF/SMF.

The 5G core function will in turn send an event to our product, which will initiate the activation of the subscriber in the preferred slice. The 5G core, through the PCF network function, will then activate the subscriber into the preferred slice with improved QoE

BSS Application

Fig. 3: BSS Application

More about Amdocs Networks